Przejdź do zawartości


Wyszukiwanie zaawansowane
 
    Strona główna forum ‹ Działy techniczne - Wasze problemy, pytania itd. ‹ CA0-CA1A-CA4A-CA5A i CC4A - Dział techniczny
  • Zmień rozmiar tekstu
  • Drukuj
   
    • Regulamin • • • FAQ • Zarejestruj • Zaloguj

[CA0] Przekaźnik/moduł odpowiedzialny za sterowanie lusterek

Problemy i pytania odnośnie modeli produkowanych na przełomie 1992 - 1996 roku.
Regulamin działu
1.) Pamiętaj, że temat to tak naprawdę streszczenie całego posta. Bardzo dobrze można to pokazać za pomocą prostego przykładu:
Źle: Pomocy! Wielki problem z samochodem!
Dobrze: Na zimnym silniku nie wchodzi drugi bieg

2.) Jeżeli masz problem z samochodem opisz go jak najdokładniej. Pamiętaj, żeby w Twoim poście było jak najwięcej informacji mogących pomóc w rozwiązaniu problemu tzn:
- Co się dzieje z samochodem (gaśnie, nie odpala, dużo pali itp)?
- W jakich sytuacjach pojawia się problem (przy jechaniu ponad 100km/h, przy cofaniu, podczas rozruchu itp)?
- Czy podejmowałeś już jakieś próby naprawy usterki i jak się one zakończyły? (zrobiłem reset kompa, ale nie pomógł, wymieniłem amortyzator i nadal nic)?
Źle: Nie wiem co się dzieje, ale odpada mi silnik. Pomocy!
Dobrze: Ostatnio zauważyłem, że podczas otwierania okna od strony pasażera silnik odpada od samochodu. Próbowałem wymienić już korbkę od opuszczania szyby, ale problem niestety nie znikł. Myślę, że odpowiedzialny za to może być również wahacz, bo podczas przeglądu powiedzieli mi, że jest w złym stanie

3.) Zawsze podziękuj za pomoc w rozwiązaniu problemu (nawet jeżeli ostatecznie zabrakło wiedzy, żeby go usunąć). Nic Cię to nie kosztuje, a na pewno będziesz uchodził za człowieka kulturalnego i wartego poświęcenia chwili czasu. Warto również użytkownikowi który pomógł wystawić podziękowanie za pomoc poprzez kliknięcie w dolnym prawym rogu jego posta ikonki "piwo".
Odpowiedz
Posty: 37 • Strona 1 z 2 • 1, 2

[CA0] Przekaźnik/moduł odpowiedzialny za sterowanie lusterek

Postprzez RoXall » 27 mar 2014, o 13:44

Mam pytanie gdzie w ca0 znajduje się przekaźnik odpowiedzialny za sterowanie lusterek? Czy ktoś może wrzucić zdjęcie lub bliżej określić?
Ewentualnie poproszę o jego numer katalogowy.
Colt CA0 1.6 16V
Encyklopedia silnikowa Mitsubishi
Obrazek
..:dobre, szybkie, tanie: wybierz dowolne dwa (nie można mieć wszystkich trzech):..
RoXall
Klubowicz
Klubowicz
Avatar użytkownika
 
Posty: 1275
Dostał piw: 85
Auto: 三菱コルト4
Województwo: Mazowieckie
Góra

[ca0] Przekaźnik/moduł odpowiedzialny za sterowanie lusterek

Postprzez ślimak » 27 mar 2014, o 13:57

No niestety nie pomogę, nie posiadam el. lusterek
Obrazek
ślimak
Klubowicz
Klubowicz
Avatar użytkownika
 
Posty: 1824
Dostał piw: 43
Auto: CA1A with 4G63
Województwo: Łódzkie
Góra

[ca0] Przekaźnik/moduł odpowiedzialny za sterowanie lusterek

Postprzez tresorex » 27 mar 2014, o 14:04

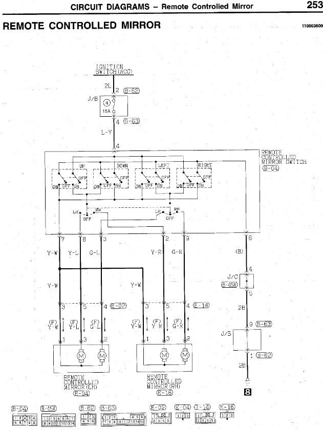
Lusterka nie mają chyba przekaźnika... przynajmniej na schemacie nie jest nigdzie zaznaczony. W opisie skrzynek przekaźników też nie mogę odszukać.

Obrazek
Pomogłem? Polej piwko!




ObrazekREGULAMIN
tresorex
Klubowicz
Klubowicz
Avatar użytkownika
 
Posty: 5202
Lokalizacja: Poznań
Dostał piw: 442
Auto: Accord VII
Województwo: Wielkopolskie
Góra

[CA0] Przekaźnik/moduł odpowiedzialny za sterowanie lusterek

Postprzez RoXall » 27 mar 2014, o 16:20

Czyli wiązka z przełączników leci od razu do lusterek a wcześniej zasilana jest bezpośrednio z wiązki głównej?

Pytam bo chciałem podmienić na ten z evo/pajero z funkcją składania lusterek (chyba, że jest taki sam to nie ma sensu grzebać).
Tam jest 100% mam nawet jego nr katalogowy i widziałem go fizycznie.
Colt CA0 1.6 16V
Encyklopedia silnikowa Mitsubishi
Obrazek
..:dobre, szybkie, tanie: wybierz dowolne dwa (nie można mieć wszystkich trzech):..
RoXall
Klubowicz
Klubowicz
Avatar użytkownika
 
Posty: 1275
Dostał piw: 85
Auto: 三菱コルト4
Województwo: Mazowieckie
Góra

[CA0] Przekaźnik/moduł odpowiedzialny za sterowanie lusterek

Postprzez tresorex » 27 mar 2014, o 16:45

Z pajero ma chyba inną wtyczkę. Mam tylko obawy czy ten przełącznik będzie działał ze składanymi lusterkami. W evo przełącznik jest przełączany i zostaje w takiej pozycji a w pajero jest klikany. Może się zdarzyć że spali się silnik jak będziesz miał lusterka nie od pajero.

Jak u siebie dokładałem składanie to dołożyłem tylko wiązkę z przełącznika do lusterek na każdą stronę bez żadnych przekaźników.
Pomogłem? Polej piwko!




ObrazekREGULAMIN
tresorex
Klubowicz
Klubowicz
Avatar użytkownika
 
Posty: 5202
Lokalizacja: Poznań
Dostał piw: 442
Auto: Accord VII
Województwo: Wielkopolskie
Góra

[CA0] Przekaźnik/moduł odpowiedzialny za sterowanie lusterek

Postprzez Danielo » 27 mar 2014, o 17:02

Zamykane elektrycznie lusterka :) chyba będziesz trzeci :P
Myślę ze nie potrzeba przekaźnika, prąd w lusterkach nie jest za duży, same sie wyłączają wiec o przeciążeniu nie ma mowy. Kwestia dorwania przełącznika albo zrobienia sterowania samemu :D, do przełącznika zasilanie podajesz skąd chcesz i działa, najlepiej weź z sterowania ustawieniem lusterek.
Danielo
Klubowicz
Klubowicz
Avatar użytkownika
 
Posty: 1650
Lokalizacja: Poznań
Dostał piw: 189
Auto: CA Malibu
Województwo: Wielkopolskie
Góra

[CA0] Przekaźnik/moduł odpowiedzialny za sterowanie lusterek

Postprzez zubrin » 27 mar 2014, o 17:18

tylko że w galancie lusterka mają wyłaczniki krańcowe co widać na schemacie więc przełącznik może zostawać w tej pozycji, przy klikanym z pajero może być tak że bedziesz musiał trzymać tak długo klawisz aż się rozłożą lub złożą. W sumie najlepiej by było poszukać schematów od Pajero i evo wtedy by wszystko było jasne
UBEZPIECZENIA PZU 600 603 029
zubrin
Klubowicz
Klubowicz
Avatar użytkownika
 
Posty: 2290
Lokalizacja: Poznań
Dostał piw: 175
Auto: Colt CA4A
Województwo: Wielkopolskie
Góra

[CA0] Przekaźnik/moduł odpowiedzialny za sterowanie lusterek

Postprzez RoXall » 27 mar 2014, o 20:37

Danielo napisał(a):Zamykane elektrycznie lusterka :) chyba będziesz trzeci :P


Słuszne stwierdzenie :chyba" bo nie wiem czy coś z tego wyjdzie.

Guzik z evo 4 natomiast przekaźnik widziałem, że jest taki sam <no prawie o czym za chwile> zarówno w pajero jak i w evo 4.
Dokładnie przekaźnik dla pajero występuje pod dwoma numerami katalogowymi z literką K i X w środku. Z czego ten z X to ten sam co dla evo 4/5/6.

Jeśli przekaźnika nie potrzeba to jeszcze lepiej tylko, że tam w guzik jakaś wtyczka a skąd ją wziąć?
Dziwi mnie tylko, że z przekaźnika wychodzą z niego aż cztery kable.



---

Pytanie za sto punktów jak zrobić taki myk aby przy włączeniu zapłonu lusterka się rozkładały a po wyłączeniu składały.
Bo nie wiem czy to jest w opcji tych lusterek. Do tej pory myślałem, że tak ale jak przeczytałem co napisaliście to już taki pewien nie jestem.
Ostatnio edytowano 28 mar 2014, o 00:24 przez RoXall, łącznie edytowano 1 raz
Colt CA0 1.6 16V
Encyklopedia silnikowa Mitsubishi
Obrazek
..:dobre, szybkie, tanie: wybierz dowolne dwa (nie można mieć wszystkich trzech):..
RoXall
Klubowicz
Klubowicz
Avatar użytkownika
 
Posty: 1275
Dostał piw: 85
Auto: 三菱コルト4
Województwo: Mazowieckie
Góra

[CA0] Przekaźnik/moduł odpowiedzialny za sterowanie lusterek

Postprzez tresorex » 27 mar 2014, o 22:07

Wtyczkę najlepiej wziąć osoby która sprzedaje przełącznik. Ja tak zrobiłem kupując do gala.

Oryginalnie nie ma opcji składania razem z zapłonem, ale podobno jest to możliwe. W tym miejscu głos powinien zabrać Danielo ;)

Tylko jak by to miało działać? Że zawsze będą się składać po zgaszeniu auta? Czy będzie jakiś przełącznik auto/manual? Generalnie ja już składam odruchowo po zgaszeniu i rozkładam po odpaleniu, weszło w krew :)
Pomogłem? Polej piwko!




ObrazekREGULAMIN
tresorex
Klubowicz
Klubowicz
Avatar użytkownika
 
Posty: 5202
Lokalizacja: Poznań
Dostał piw: 442
Auto: Accord VII
Województwo: Wielkopolskie
Góra

[CA0] Przekaźnik/moduł odpowiedzialny za sterowanie lusterek

Postprzez zubrin » 27 mar 2014, o 22:31

zrobić z zapłonem nie jest trudno, masz schematy od Pajero/evo ? podeślesz?
UBEZPIECZENIA PZU 600 603 029
zubrin
Klubowicz
Klubowicz
Avatar użytkownika
 
Posty: 2290
Lokalizacja: Poznań
Dostał piw: 175
Auto: Colt CA4A
Województwo: Wielkopolskie
Góra

[CA0] Przekaźnik/moduł odpowiedzialny za sterowanie lusterek

Postprzez RoXall » 28 mar 2014, o 00:23

Z wtyczką to po ptokach bo koleś miał wszystko rozebrane liczę jeszcze, że może została w przełączniku, który do mnie jedzie.
Jednak znając moje szczęście...

Myślałem właśnie aby zawsze składały się o po zgaszeniu auta i rozkładały na nowo po odpaleniu.
A czy od tego nie jest właśnie przekaźnik?

Kurde tam, w Poznaniu to kopalnia wiedzy normalnie Wy we trzech + Bewu :).

Ile kabli wchodzi wraz z wtyczką w przełącznik <nie licząc wyjść na lusterka>?
Bo na przekaźniku widziałem cztery ale nie widziałem wtyczki znowu...
Colt CA0 1.6 16V
Encyklopedia silnikowa Mitsubishi
Obrazek
..:dobre, szybkie, tanie: wybierz dowolne dwa (nie można mieć wszystkich trzech):..
RoXall
Klubowicz
Klubowicz
Avatar użytkownika
 
Posty: 1275
Dostał piw: 85
Auto: 三菱コルト4
Województwo: Mazowieckie
Góra

[CA0] Przekaźnik/moduł odpowiedzialny za sterowanie lusterek

Postprzez zubrin » 28 mar 2014, o 12:05

2 kabelki dodatkowe są do rozkładania + i - bieguny się zamieniają w zależności w którą strone ma chodzić silniczek składanie (+,-) rozkładanie (-,+) masz schematy?
UBEZPIECZENIA PZU 600 603 029
zubrin
Klubowicz
Klubowicz
Avatar użytkownika
 
Posty: 2290
Lokalizacja: Poznań
Dostał piw: 175
Auto: Colt CA4A
Województwo: Wielkopolskie
Góra

[CA0] Przekaźnik/moduł odpowiedzialny za sterowanie lusterek

Postprzez Danielo » 28 mar 2014, o 12:20

Ja Wam powiem tak. Schemat brałem od galanta, mając lusterko w reku sprawdzałem i jest tak jak pisze Zurbin + i - na zmianę. Ja będę budował układ otwierania lusterek po centralnym i zamykaniu po centralnym zamku. Z po zapłonie tez nie problem, na szybko na 2 przekaźnikach sie da :P
PS. jak zrobisz zamykanie i otwieranie samemu, tzn po zapłonie, centralnym czy cokolwiek to zostawiasz oryginalny przełącznik.
Danielo
Klubowicz
Klubowicz
Avatar użytkownika
 
Posty: 1650
Lokalizacja: Poznań
Dostał piw: 189
Auto: CA Malibu
Województwo: Wielkopolskie
Góra

[CA0] Przekaźnik/moduł odpowiedzialny za sterowanie lusterek

Postprzez zubrin » 28 mar 2014, o 12:39

tak na 2 przekaznikach ale muszą przełączać miedzy stykami 87 i 87a nie mogą być zmostkowane
UBEZPIECZENIA PZU 600 603 029
zubrin
Klubowicz
Klubowicz
Avatar użytkownika
 
Posty: 2290
Lokalizacja: Poznań
Dostał piw: 175
Auto: Colt CA4A
Województwo: Wielkopolskie
Góra

[CA0] Przekaźnik/moduł odpowiedzialny za sterowanie lusterek

Postprzez Danielo » 28 mar 2014, o 12:48

NIe pamietam styków na pamięć ale może i masz racje, a co masz na myśli pisząc "nie mogą być zmostkowane"?
Danielo
Klubowicz
Klubowicz
Avatar użytkownika
 
Posty: 1650
Lokalizacja: Poznań
Dostał piw: 189
Auto: CA Malibu
Województwo: Wielkopolskie
Góra

[CA0] Przekaźnik/moduł odpowiedzialny za sterowanie lusterek

Postprzez RoXall » 28 mar 2014, o 13:27

Nie mam schematu, niestety. Myślałem, że pytasz Tresa, dlatego nie odpisywałem wcześniej.

Mogę porobić dokładniejsze zdjęcia jak wszystko będzie u mnie.
Boję się tylko okropnej rzeźby składania wnętrza lusterek z evo4 do colta.

@Danielo
Może chodzi o to, że nie mogą być podłączone szeregowo?
Ostatnio edytowano 28 mar 2014, o 13:38 przez RoXall, łącznie edytowano 2 razy
Colt CA0 1.6 16V
Encyklopedia silnikowa Mitsubishi
Obrazek
..:dobre, szybkie, tanie: wybierz dowolne dwa (nie można mieć wszystkich trzech):..
RoXall
Klubowicz
Klubowicz
Avatar użytkownika
 
Posty: 1275
Dostał piw: 85
Auto: 三菱コルト4
Województwo: Mazowieckie
Góra

[CA0] Przekaźnik/moduł odpowiedzialny za sterowanie lusterek

Postprzez Danielo » 28 mar 2014, o 13:34

RoXall napisał(a):Boję się tylko okropnej rzeźby składania wnętrza lusterek z evo4 do colta

No nie powiem, rzeźby sporo i co gorsza nie wychodzi idealnie :( jak narazie prawe lusterko po zamknięciu dotyka mi szyby.
Danielo
Klubowicz
Klubowicz
Avatar użytkownika
 
Posty: 1650
Lokalizacja: Poznań
Dostał piw: 189
Auto: CA Malibu
Województwo: Wielkopolskie
Góra

[CA0] Przekaźnik/moduł odpowiedzialny za sterowanie lusterek

Postprzez RoXall » 28 mar 2014, o 13:37

A też brałeś z evo4?
Jeśli tak to czuje, że braliśmy od tego samego gostka. Mówił, że brał ktoś kto ma drugiego colta i prosił o zdjęcia mocowania od dołu.

Jeśli macie jakieś schematy dotyczące lusterek, jakiekolwiek (choć jestem totalnym głąbem w tej materii) to poproszę o przesłanie na maila.
Na PW podam adres :).
Colt CA0 1.6 16V
Encyklopedia silnikowa Mitsubishi
Obrazek
..:dobre, szybkie, tanie: wybierz dowolne dwa (nie można mieć wszystkich trzech):..
RoXall
Klubowicz
Klubowicz
Avatar użytkownika
 
Posty: 1275
Dostał piw: 85
Auto: 三菱コルト4
Województwo: Mazowieckie
Góra

[CA0] Przekaźnik/moduł odpowiedzialny za sterowanie lusterek

Postprzez Danielo » 28 mar 2014, o 13:54

Tak, od tego samego :) Jako kolor dostałeś? :P
Ja bazowałem na schemacie od Galanta i koniec końców jak wiem jak działają same lusterka to postanowiłem samemu wykonać sterowanie. W tym tyg będę budował prototyp bo lusterka będą sie malować to potem można sie dogadać i zrobię więcej układów :)
Danielo
Klubowicz
Klubowicz
Avatar użytkownika
 
Posty: 1650
Lokalizacja: Poznań
Dostał piw: 189
Auto: CA Malibu
Województwo: Wielkopolskie
Góra

[CA0] Przekaźnik/moduł odpowiedzialny za sterowanie lusterek

Postprzez RoXall » 28 mar 2014, o 14:27

Ha od razu mu powiedziałem, że domyślam się kto brał pierwsze w takim razie.

O to spoko, takie moduły brałbym z chęcią.

O kolorze nie dyskutowałem - brałem co jest :D. Zwłaszcza za takie piniędze <lol>.
Czekam na kuriera.... a tu 13.23 i nic cisza.

Jak coś to gdzieś mi się wala drugi przełącznik lusterek od Pajero co brałem do Tresa kiedyś, jakbyś nie miał. <chyba, że dostał nóg>.


edit:
a nie myślałeś, żeby zamiast montowania całego skrzydła lusterka przełożyć w coltowe środek i porzeźbić?
Colt CA0 1.6 16V
Encyklopedia silnikowa Mitsubishi
Obrazek
..:dobre, szybkie, tanie: wybierz dowolne dwa (nie można mieć wszystkich trzech):..
RoXall
Klubowicz
Klubowicz
Avatar użytkownika
 
Posty: 1275
Dostał piw: 85
Auto: 三菱コルト4
Województwo: Mazowieckie
Góra

Następna strona

Odpowiedz
Posty: 37 • Strona 1 z 2 • 1, 2

Powrót do CA0-CA1A-CA4A-CA5A i CC4A - Dział techniczny


Powrót do Strona główna forum



Kto przegląda forum

Użytkownicy przeglądający ten dział: Brak zidentyfikowanych użytkowników i 1 gość

  • Strona główna forum
  • Ekipa •Usuń ciasteczka
Powered by phpBB® Forum Software © phpBB Group
Przyjazne użytkownikom polskie wsparcie phpBB3 - phpBB3.PL
phpBB SEO Forum dla graczy